MissUnit

子模块:FIFO

  • 一个先入先出的循环队列,目前仅在 MissUnit 中有使用,作为优先队列 priorityFIFO。
  • 按照在 MissUnit 中的实例化,pipe 是默认值 false,hasflush 是 true。
  • 队列的指针都是环形的,分为入队指针(写指针,ent_ptr)和出队指针(读指针,deq_ptr),记录读和写的位置。
  • 两个指针都有对应的 flag 位,当指针超过队列大小时,flag 位会翻转,用以判断是否已经循环。
  • 在入队、出队对应的 fire(valid && ready) 信号有效时,移动对应的指针。

FIFO 的功能点和测试点

入队操作

  1. 队未满,正常入队
  • 当队列未满,且空位不小于一时,可以正常入队,如果从零号位开始入队到最大容量,入队指针的 flag 不会翻转。
  • io.enq.fire 为高有效,regFiles(enq_ptr.value) = io.enq.bits,enq_ptr.value+1 入队指针移动,入队指针标记位不翻转。
  • 重复以上操作至队满。
  1. 队未满,入队后标记位翻转
  • 当队未满,但是空位却是靠近队尾时,入队一位后就到达了队头,入队指针的 flag 会翻转。
  • 队列的容量为 10,入队指针指向 9,队未满。此时如果 io.enq.fire 为高,则 regFiles(9) = io.enq.bits,enq_ptr.value+1(循环队列,加完后 enq_ptr.value=0)入队指针移动,入队指针标记位翻转。
  1. 队满,入队就绪信号为低,无法入队
  • 当队满时,(enq_ptr.value === deq_ptr.value) && (enq_ptr.flag ^ deq_ptr.flag) 为高,io.enq.ready 为低,io.enq.fire 为低无效。
  • 此时入队,入队指针的 value 和 flag 不变。

出队操作

  1. 队非空,正常出队
  • 当队列非空时,可以正常出队,如果出队指针不经过最大容量位置,出队指针的 flag 不会翻转。
  • io.deq.fire 为高有效,io.deq.bits = regFiles(deq_ptr.value),deq_ptr.value+1 出队指针移动,出队指针标记位不翻转。
  1. 队非空,出队后标记位翻转
  • 当队非空,但是出队指针是靠近队尾时,出队一位后就到达了队头,出队指针的 flag 会翻转。
  • 队列的容量为 10,出队指针指向 9,队非空。此时如果 io.deq.fire 为高,则 io.deq.bits = regFiles(9),deq_ptr.value+1(循环队列,加完后 deq_ptr.value=0)出队指针移动,出队指针标记位翻转。
  1. 队空,出队有效信号为低,无法出队
  • 当队空时,enq_ptr === deq_ptr 为高,io.deq.valid 为低,io.deq.fire 为低无效。
  • 此时出队,出队指针的 value 和 flag 不变。

刷新清空操作

  1. flush 清空
  • 当刷新信号有效时,重置出队和入队的指针和标记位,清空队列。
  • 当 flush 为高时,deq_ptr.value=0,enq_ptr.value=0,deq_ptr.flag=false,enq_ptr.flag=false,empty=true,full=false。

MissUnit

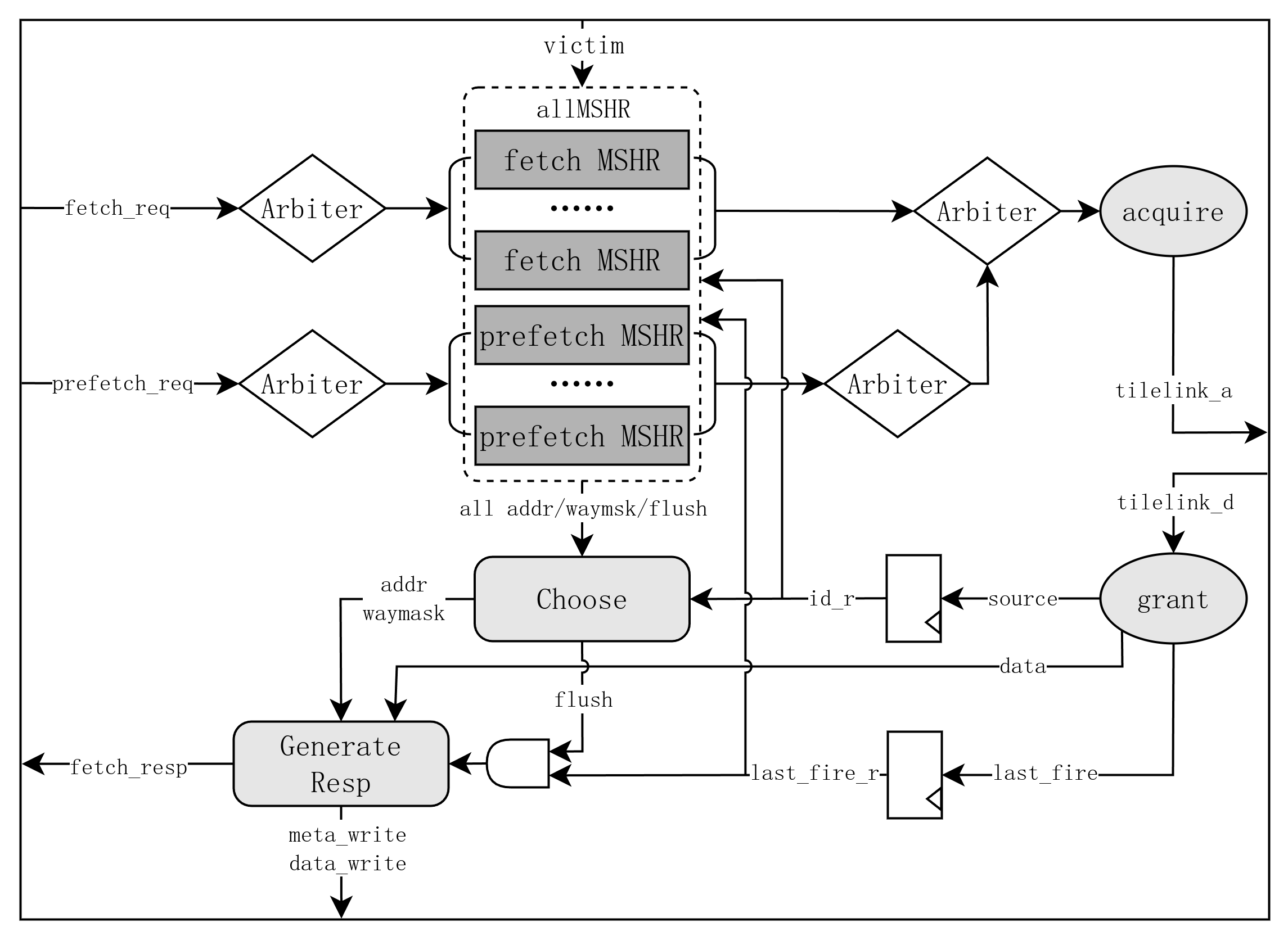
MissUnit 结构
MissUnit 结构

  • 接收并管理多个 Miss 请求
    • 处理来自 Fetch 和 Prefetch 的 Miss 请求。
    • 将这些请求分派给适当数量的 MSHR 进行排队和状态管理。
  • 管理 MSHR
    • ICacheMissUnit 使用多个 MSHR 来跟踪和管理未完成的缓存未命中请求。为了防止 flush 时取指 MSHR 不能完全释放,设置取指 MSHR 的数量为 4,预取 MSHR 的数量为 10。采用数据和地址分离的设计方法,所有的 MSHR 共用一组数据寄存器,在 MSHR 只存储请求的地址信息、状态等信息。
    • 接收来自 MainPipe 的取指请求和来自 IPrfetchPipe 的预取请求,取指请求只能被分配到 fetchMSHR,预取请求只能分配到 prefetchMSHR,入队时采用低 index 优先的分配方式。
    • 在入队的同时对 MSHR 进行查询,如果请求已经在 MSHR 中存在,就丢弃该请求,对外接口仍表现 fire,只是不入队到 MSHR 中。==在入队时向 Replacer 请求写入 waymask==。当请求完成后,MSHR 会被释放,以便处理新的请求。
  • 通过 TileLink 协议与 L2 缓存进行通信,发送获取缓存块的请求(mem_acquire),并接收 L2 缓存的响应(mem_grant)。
    • 当到 L2 的总线空闲时,选择 MSHR 表现进行处理,整体 fetchMSHR 的优先级高于 prefetchMSHR,只有没有需要处理的 fetchMSHR,才会处理 prefetchMSHR。
    • 对于 fetchMSHR,采用低 index 优先的优先级策略,因为同时最多只有两个请求需要处理,并且只有当两个请求都处理完成时才能向下走,所有 fetchMSHR 之间的优先级并不重要。
    • 对于 prefetchMSHR,考虑到预取请求之间具有时间顺序,采用先到先得的优先级策略,在入队时通过一个 FIFO 记录入队顺序,处理时按照入队顺序进行处理。
    • 通过状态机与 Tilelink 的 D 通道进行交互,到 L2 的带宽为 32byte,需要分 2 次传输,并且不同的请求不会发生交织,所以只需要一组寄存器来存储数据。
    • 当一次传输完成时,根据传输的 id 选出对应的 MSHR,从 MSHR 中读取地址、掩码等信息,将相关信息写入 SRAM,同时将 MSHR 释放。
  • 向 MetaArray 和 DataArray 发送写请求,向 MainPipe 发送响应
    • 当数据传回后,MissUnit 根据相应的替换策略信息(victim way),将新数据写回 ICache 的 SRAM(Meta/Data) 。
    • 同时向取指端(或预取端)返回“Miss 已完成”的响应,包括:写入了哪一路(way)、实际数据以及可能的校验信息(如 corrupt 标记等)。
  • 处理特殊情况(如 flush、fencei、数据损坏等)
    • 遇到 Flush 或 fence.i 等指令时,MissUnit 可以终止或跳过某些 Miss 请求的写回,从而保证不在无效或过期的情况下写入缓存。
    • 数据若出现 corrupt(部分拍损坏),也会在写回或发给前端时进行特殊处理或标记。

过程:

  1. fetch_req 和 prefetch_req 分别先经过 DeMultiplexer (Demux),把请求分发给对应数量的 MSHR。fetch 的 MSHR 和 prefetch 的 MSHR 分成两组,分别处理取指和预取请求。
  2. 每个 MSHR 内部会记录当前 Miss 请求的地址、索引、是否已经发出 acquire 等状态。当有其它相同的 miss 请求进来时,可以直接 “ hit MSHR ” 而不用重复创建新的请求。
  3. 对于 fetchMSHR,采用低 index 优先的优先级策略;对于 prefetchMSHR,采用先到先得的优先级策略,在入队 prefetchMSHR 前通过一个 priorityFIFO.记录入队顺序,处理时按照入队顺序进行处理。
  4. fetchMSHR 发出的请求与 prefetchArb 选出的 prefetchMSHR 通过 acquireArb 合并后,通过 mem_acquire 发送给下一级或外部存储。
  5. mem_grant 表示对这一条 Miss 请求的返回数据。需要分多个 beat 收集,直到收满一个 Cacheline。
  6. 收集完 Cacheline 数据后,会根据对应 MSHR 的信息向 metaArray 和 dataArray 发起写操作 (meta_write, data_write),同时向取指端 (fetch_resp) 发送补全后的数据和标记 (waymask 等)。
  7. 如果发生 flush 或 fencei,在未发出请求前,请求会被无效化;请求被发出后,会持续阻止新请求进入,已经发出的访问最终会将返回过程走完,但收到的响应并不会回复给 MainPipe 和 IPrefetchPipe,也不会写给 MetaArray 和 DataArray。

Demultiplexer 类 grant:选择第一个 ready(能写)的 mshr,写进去(第 0 到 n 个端口,前面有 ready 的。比如 grant=seq(false,true),grant(1)为 true,表示 1 端口前面有一个 ready 的端口(0 端口)) io.out(i).valid:前 i-1 个 mshr 没有 ready 的,输入的写有效。 io.in.ready := grant.last || io.out.last.ready,给 MissUnit 的 ready 信号有一个有效,那么 MissUnit 给 MSHR 的 ready 信号就有效。

MissUnit 的功能点和测试点

处理取指缺失请求

处理来自 MainPipe 的取指单元的缓存缺失请求,将缺失请求分发到多个 Fetch MSHR 中的一个,避免重复请求。 低索引的请求优先处理。

  1. 接受新的取指请求

    • 当新的 fetch miss 与 MSHR 中的已有请求不重复时(通过 io.fetch_req.bits.blkPaddr / vSetIdx 给出具体地址),MissUnit 会将请求分配到一个空闲的 Fetch MSHR 中。
    • 当有新的取指缺失请求到达时(io.fetch_req.valid 为高),且没有命中已有的 MSHR(fetchHit 为低),io.fetch_req.ready 应为高,表示可以接受请求。
    • io.fetch_req.fire 成功握手后,该 MSHR 处于 valid = true 状态,并记录地址。
  2. 处理已有的取指请求

    • 当已有取指缺失请求到达时(io.fetch_req.valid 为高),且命中已有的 MSHR(fetchHit 为高),io.fetch_req.ready 应为高,虽然不接受请求,但是表现出来为已经接收请求。
    • fetchDemux.io.in.valid 应为低,fetchDemux.io.in.fire 为低,表示没有新的请求被分发到 MSHR。
  3. 低索引的请求优先进入 MSHR

    • Fetch 的请求会通过 fetchDemux 分配到多个 Fetch MSHR,fetchDemux 的实现中,低索引的 MSHR 会优先被分配请求。
    • 当取指请求有多个 io.out(i).read 时,选择其中的第一个,也就是低索引的写入 MSHR,io.chose 为对应的索引。

处理预取缺失请求

与 Fetch Miss 类似,但走另一些 MSHR(Prefetch MSHR)。

  1. 接受新的预取请求

    • 当新的 prefetch miss 与 MSHR 中的已有请求不重复时(通过 io.prefetch_req.bits.blkPaddr / vSetIdx 给出具体地址),MissUnit 会将请求分配到一个空闲的 Prefetch MSHR 中。
    • 当有新的预取缺失请求到达时(io.prefetch_req.valid 为高),且没有命中已有的 MSHR(prefetchHit 为低),io.prefetch_req.ready 应为高,表示可以接受请求。
    • io.prefetch_req.fire 成功握手后,该 MSHR 处于 valid = true 状态,并记录地址。
  2. 处理已有的预取请求

    • 当已有预取缺失请求到达时(io.prefetch_req.valid 为高),且命中已有的 MSHR(prefetchHit 为高),io.prefetch_req.ready 应为高,虽然不接受请求,但是表现出来为已经接收请求。
    • prefetchDemux.io.in.valid 应为低,prefetchDemux.io.in.fire 为低,表示请求被接受但未分发到新的 MSHR。
  3. 低索引的请求优先进入 MSHR

    • Prefetch 的请求会通过 prefetchDemux 分配到多个 Prefetch MSHR,prefetchDemux 的实现中,低索引的 MSHR 会优先被分配请求。
    • 当取指请求有多个 io.out(i).read 时,选择其中的第一个,也就是低索引的写入 MSHR,io.chose 为对应的索引。
  4. 先进入 MSHR 的优先进入 prefetchArb

    • 从 prefetchDemux 离开后,请求的编号会进入 priorityFIFO,priorityFIFO 会根据进入队列的顺序排序,先进入队列的请求会先进入 prefetchArb。
    • prefetchDemux.io.in.fire 为高,并且 prefetchDemux.io.chosen 有数据时,将其编号写入 priorityFIFO。
    • 在 priorityFIFO 中有多个编号时,出队的顺序和入队顺序一致。
    • 检查 priorityFIFO.io.deq.bit 中的数据即可。

MSHR 管理与查找

  1. MSHR 查找命中逻辑

    • 当新的请求到来时,能够正确查找所有 MSHR,判断请求是否命中已有 MSHR。
    • 当新的请求(取指或预取)到来时,系统遍历所有 MSHR,根据所有 MSHR 的查找信号 allMSHRs(i).io.lookUps(j).hit,检查请求是否已经存在于某个 MSHR 中。
    • 如果命中,则对应的 fetchHit 或 prefetchHit 为高。
    • 对于 prefetchHit 为高,还有一种情况:预取的物理块地址和组索引与取指的相等((io.prefetch_req.bits.blkPaddr === io.fetch_req.bits.blkPaddr) && (io.prefetch_req.bits.vSetIdx === io.fetch_req.bits.vSetIdx))并且有取指请求 io.fetch_req.valid 有效时,也算命中
  2. MSHR 状态的更新与释放

    • 当请求完成后,也就是来自内存总线的响应完成(D 通道接收完所有节拍),MSHR 能够正确地释放(清除其有效位),以便接收新的请求。
    • TileLink D 通道返回的 source ID ,即 io.mem_grant.bits.source。
    • 无效化信号 allMSHRs(i).io.invalid 为高,对应的 MSHR 的有效位 allMSHRs(i).valid 变为低

acquireArb 仲裁

预取和取指的 acquire 都会发送给 acquireArb,acquireArb 会选择一个 acquire 发送给 mem_acquire。 acquireArb 使用 chisel 自带的 Arbiter 实现,Arbiter 使用固定优先级仲裁,优先级从编号 0 开始,编号越小优先级越高。

  1. acquireArb 仲裁
    • acquireArb 会选择一个 acquire 发送给 mem_acquire。
    • 当有多个 MSHR 同时发出请求时,acquireArb 会根据优先级进行仲裁,选择优先级最高的 MSHR 发送请求。
    • 取指请求总是在 0-3 号,预取请求直接在最后一号,所以取指请求优先级高于预取请求。
    • 当取指 acquire 和预取 acquire 同时发出时,fetchMSHRs(i).io.acquire 和 prefetchMSHRs(i).io.acquire 都有效,仲裁结果 acquireArb.io.out 应该和 fetchMSHRs(i).io.acquire 一致。

Grant 数据接收与 Refill

在收到 TileLink D 通道数据时收集整行

  • 累计 beat 数(readBeatCnt),直到完成一整行 (last_fire)
  • 记录 corrupt 标志
  • 将完成的请求映射回对应的 MSHR (id_r = mem_grant.bits.source)
  1. 正常完整 Grant 流程,readBeatCnt 为 0 时
    • readBeatCnt 初始为 0,refillCycles - 1 也为 0。
    • io.mem_grant.valid 为高(因为 io.mem_grant.ready 默认为高,所以 io.mem_grant.fire 为高只需要 io.mem_grant.valid 为高)且 io.mem_grant.bits.opcpde(0)为高。
    • 此时 respDataReg(0)= io.mem_grant.bits.data
    • readBeatCnt 加一为 1。
  2. 正常完整 Grant 流程,readBeatCnt 为 1 时
    • io.mem_grant.valid 为高且 io.mem_grant.bits.opcpde(0)为高。
    • 此时 respDataReg(1)= io.mem_grant.bits.data
    • readBeatCnt 重置回 0。
    • last_fire 为高。
    • 下一拍 last_fire_r 为高,id_r=io.mem_grant.bits.source。
  3. 正常完整 Grant 流程,last_fire_r 为高
    • last_fire_r 为高,并且 id_r 为 0-13 中的一个。
    • 对应的 fetchMSHRs 或者 prefetchMSHRs 会被无效,也就是 fetchMSHRs_i 或 prefetchMSHRs_i-4 的 io_invalid 会被置高。
  4. Grant 带有 corrupt 标志
    • io.mem_grant.valid 为高且 io.mem_grant.bits.opcpde(0)为高,io.mem_grant.bits.corrupt 为高,则 corrupt_r 应为高。
    • 如果 io.mem_grant.valid 为高且 io.mem_grant.bits.opcpde(0)为高,io.mem_grant.bits.corrupt 为高中有一个不满足,且此时 last_fire_r 为高,则 corrupt_r 重置为低。

替换策略更新 (Replacer)

MissUnit 在发出 Acquire 请求时,还会将本次选中的 victim way 对应的索引告诉 io.victim,让替换策略更新其记录(替换策略采用 PLRU) 只有当 Acquire 真正“fire”时,才说明成功替换,replacer 需要更新状态

  1. 正常替换更新
    • 当 io.mem.acquire.ready & acquireArb.io.out.valid 同时为高,也就是 acquireArb.io.out.fir 为高时,io.victim.vSetIdx.valid 也为高。
    • io.victim.vSetIdx.bits = 当前 MSHR 请求的 acquireArb.io.out.bits.vSetIdx。
  2. 生成 waymask
    • 根据从 L2 返回的 mshr_resp 中 mshr_resp.bits.way 生成 waymask 信息。
    • 返回的 mshr_resp.bits.way 有 16 位,通过独热码生成一位掩码信息,waymask 表示其中哪一路被替换。
    • 生成的 waymask 应该和 mshr_resp.bits.way 一致。

写回 SRAM (Meta / Data)

在一条 Miss Request refill 完成时,将新得到的 Cache line 写到 ICache。 生成 io.meta_write 和 io.data_write 的请求,带上 waymask, tag, idx, data 。 生成 io.meta_write.valid 和 io.data_write.valid 信号。

  1. 生成 io.meta_write.valid 和 io.data_write.valid 信号
    • 当 grant 传输完成后,经过一拍后,即 last_fire_r 为高,且从 TileLink 返回的 mshr_resp 中的 mshr_resp.valid 为高。
    • 并且此时没有硬件刷新信号和软件刷新信号,也就是 io.flush 和 io.fencei 为低。 在等待 l2 响应的过程中,没有刷新信号
    • 也没有数据 corrupt,即 corrupt_r 为低。
    • 那么 io.meta_write.valid 和 io.data_write.valid 均为高。
  2. 正常写 SRAM
    • io.meta_write.bits 的 virIdx、phyTag、waymask、bankIdx、poison 应该正常更新
    • io.data_write.bits 的 virIdx、data、waymask、bankIdx、poison 应该正常更新

向 mainPipe/prefetchPipe 发出 Miss 完成响应(fetch_resp)

在完成 refill 后,无论是否要真正写阵列,都会向取指端发送“Miss 请求完成” 更新 io.fetch_resp.valid 和 fetch_resp.bits。

  1. 正常 Miss 完成响应
    • 当 grant 传输完成后,经过一拍后,即 last_fire_r 为高,且从 TileLink 返回的 mshr_resp 中的 mshr_resp.valid 为高。
    • 无论此时是否有硬件刷新信号和软件刷新信号, io.fetch_resp.valid 都为高,说明可向取指端发送响应。
    • io.fetch_resp.bits 中的数据更新:
      • io.fetch_resp.bits.blkPaddr = mshr_resp.bits.blkPaddr
      • io.fetch_resp.bits.vSetIdx = mshr_resp.bits.vSetIdx
      • io.fetch_resp.bits.waymask = waymask
      • io.fetch_resp.bits.data = respDataReg.asUInt
      • io.fetch_resp.bits.corrupt = corrupt_r

处理 flush / fencei

一旦收到 io.flush 或 io.fencei 时,对未发射的请求可立即取消,对已经发射的请求在拿到数据后也不写 SRAM。

  1. MSHR 未发射前 fencei
    • 如果 MSHR 还没有通过 io.acquire.fire 发出请求,就应立即取消该 MSHR(mshr_resp.valid= false),既不发出请求,也不要写 SRAM。
    • 当 io.fencei 为高时,fetchMSHRs 和 prefetchMSHRs 的 io.req.ready 和 io.acquire.valid 均为低,表示请求不发射。
  2. MSHR 未发射前 flush
    • 由于 fetchMSHRs 的 io.flush 被直接设置为 false,所以 io.flush 对 fetchMSHRs 无效,但是对 prefetchMSHRs 有效。
    • 当 io.flush 为高时,只能发射 fetchMSHRs 的请求。
  3. MSHR 已发射后 flush/fencei
    • 已经发射了请求,之后再有刷新信号,那么等数据回来了但不写 SRAM。
    • 在发射后,io.flush/io.fencei 为高时,等待数据回来,但是写 SRAM 的信号,write_sram_valid、io.meta_write.valid 和 io.data_write.valid 均为低,表示不写 SRAM。
    • 对于 response fetch 无影响。