IPrefetchPipe

IPrefetchPipe

IPrefetchPipe 为预取的流水线,三级流水设计,负责预取请求的过滤。

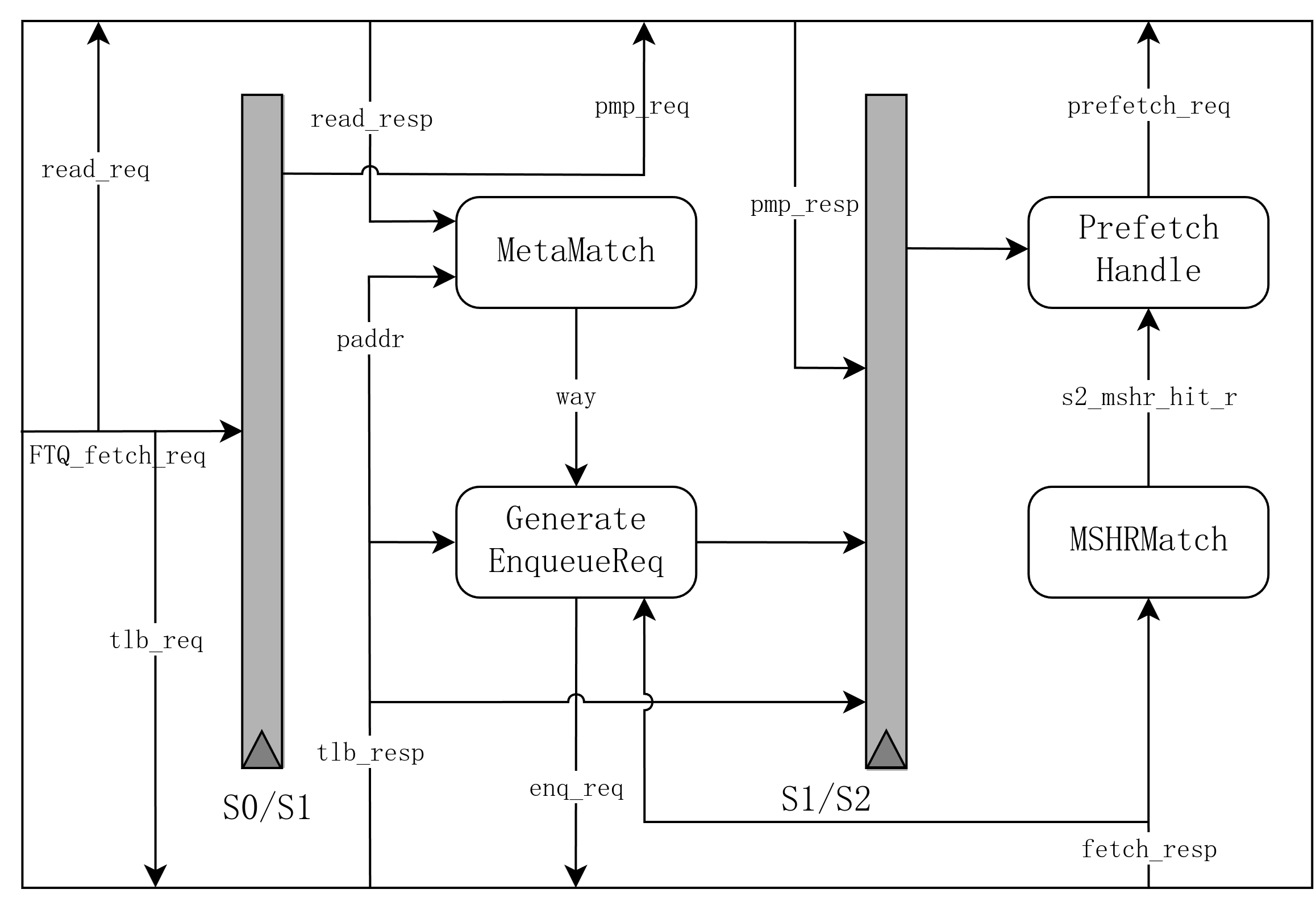
IPrefetchPipe模块结构示意图
IPrefetchPipe结构示意图

  1. 接收预取请求(s0 阶段):
  • 从 FTQ 或后端接收预取请求。
  • 发送读请求到 ITLB 和 MetaArray 缓存元数据模块。
  1. 地址转换和缓存检查(s1 阶段):
  • 接收 ITLB 的地址转换结果,处理可能的缺失和重发。
  • 从缓存元数据中读取标签和有效位,检查是否命中。
  • 进行 PMP 权限检查,合并异常信息。
  • 根据情况决定是否发送请求到 WayLookup 模块。
  1. 未命中请求处理(s2 阶段):
  • 检查与 missUnit 的交互,更新命中状态。
  • 对于无异常的未命中请求,向 missUnit 发送请求以获取数据。
  • 控制流水线的推进和刷新,处理可能的阻塞和异常。

S0 流水级

在 S0 流水级,接收来自 FTQ 的预取请求,向 MetaArray 和 ITLB 发送请求。

  • 接收预取请求:从 FTQ 或后端接收预取请求,提取预取请求的虚拟地址、FTQ 索引、是否为软件预取、是否跨缓存行信、虚拟组索引(s0_req_vSetIdx)和后端的异常信息。
  • 发送请求到 ITLB:将虚拟地址发送到 ITLB 进行地址转换。
  • 发送请求到缓存元数据(Meta SRAM):将请求发送到缓存的元数据存储器,以便在后续阶段读取缓存标签和有效位。

S1 流水级

软件预取 enqway 持续一拍…

  • 接收 ITLB 的响应:从 ITLB 接收地址转换的结果,包括物理地址 paddr、异常类型(af/pf)和特殊情况(pbmt.nc/pbmt.io)。
  • 接收缓存元数据的响应并检查缓存命中:从缓存元数据存储器 MetaArray 读取缓存标签 tag 和有效位,检查预取地址是否在缓存中已存在,命中结果存入 waymask 中。
  • 权限检查:使用 PMP 对物理地址进行权限检查,确保预取操作的合法性。
  • 异常处理和合并:合并来自后端、ITLB、PMP 的异常信息,准备在后续阶段处理。
  • 发送请求到 WayLookup 模块:当条件满足时,将元数据(命中信息 waymask、ITLB 信息 paddr/af/pf)发送到 WayLookup 模块,以便进行后续的缓存访问。
  • 状态机转换:根据当前状态和条件,更新下一个状态。
    • 状态机初始状态为 idle,当 S1 流水级进入新的请求时,首先判断 ITLB 是否缺失,如果缺失,就进入 itlbResend;如果 ITLB 命中但命中信息未入队 WayLookup,就进入 enqWay;如果 ITLB 命中且 WayLookup 入队但 S2 请求未处理完,就进入 enterS2
    • itlbResend 状态,重发 ITLB 请求,此时占用 ITLB 端口,直至请求回填完成,在回填完成的当拍向 MetaArray 再次发送读请求,回填期间可能发生新的写入,如果 MetaArray 繁忙(正在被写入),就进入metaResend,否则进入 enqWay
    • metaResend 状态,重发 MetaArray 读请求,发送成功后进入 enqWay
    • enqWay 状态,尝试将元数据入队 WayLookup,如果 WayLookup 队列已满,就阻塞至 WayLookup 入队成功,另外在 MSHR 发生新的写入时禁止入队,主要是为了防止写入的信息与命中信息所冲突,需要对命中信息进行更新。当成功入队 WayLookup 或者是软件预取时,如果 S2 空闲,就直接进入 idle,否则进入 enterS2
    • enterS2 状态,尝试将请求流入下一流水级,流入后进入 idle
IPrefetchPipe状态机
IPrefetchPipe S1状态机

S2 流水级

  • 监控 missUnit 的请求:更新 MSHR 的匹配状态。综合该请求的命中结果、ITLB 异常、PMP 异常、meta 损坏,判断是否需要预取,只有不存在异常时才进行预取。
  • 发送请求到 missUnit:因为同一个预测块可能对应两个 cacheline,所以通过 Arbiter 依次将请求发送至 MissUnit。

命中信息的更新

在 S1 流水级中得到命中信息后,距离命中信息真正在 MainPipe 中被使用要经过两个阶段,分别是在 IPrefetchPipe 中等待入队 WayLookup 阶段和在 WayLookup 中等待出队阶段,在等待期间可能会发生 MSHR 对 Meta/DataArray 的更新,因此需要对 MSHR 的响应进行监听,分为两种情况:

  1. 请求在 MetaArray 中未命中,监听到 MSHR 将该请求对应的 cacheline 写入了 SRAM,需要将命中信息更新为命中状态。
  2. 请求在 MetaArray 中已经命中,监听到同样的位置发生了其它 cacheline 的写入,原有数据被覆盖,需要将命中信息更新为缺失状态。

为了防止更新逻辑的延迟引入到 DataArray 的访问路径上,在 MSHR 发生新的写入时禁止入队 WayLookup,在下一拍入队。

刷新机制

在 IPrefetch 中如果收到后端重定向、IFU 预译码、fencei 带来的刷新,就冲刷整个流水线

IPrefetchPipe 模块中的刷新信号主要来自以下两个方面:

  1. 全局刷新信号:由系统的其他模块发出的全局刷新信号,如怀疑流水线中存在错误数据或需要清除流水线时触发。
  • io.flush:模块输入的全局刷新信号。当系统需要清除所有流水线阶段的数据时,该信号被置为高。
  1. 来自分支预测单元(BPU)的刷新信号:当分支预测错误或需要更新预测信息时,BPU 会发出刷新信号。
  • io.flushFromBpu:包含来自 BPU 的刷新信息,指示哪些指令需要被刷新。

IPrefetchPipe 的功能点和测试点

接收预取请求

从 FTQ 接收预取请求,请求可能有效( io.req.valid 为高),可能无效; IPrefetchPipe 可能处于空闲( io.req.ready 为高),可能处于非空闲状态。 只有在请求有效且 IPrefetchPipe 处于空闲状态时,预取请求才会被接收(这里暂不考虑 s0 的刷新信号 s0_flush ,默认其为低)。 预取请求分为不同类型,包括硬件预取请求 (isSoftPrefetch = false)和软件预取请求 (isSoftPrefetch = true)。 cacheline 也分为单 cacheline 和双 cacheline。

  1. 硬件预取请求: 预取请求为硬件 (isSoftPrefetch = false)

    1. 预取请求可以继续:
      • 当预取请求有效且 IPrefetchPipe 处于空闲状态时,预取请求应该被接收。
      • s0_fire 信号在没有 s0 的刷新信号( s0_flush 为低)时,应该被置为高。
    2. 预取请求被拒绝–预取请求无效时:
      • 当预取请求无效时,预取请求应该被拒绝。
      • s0_fire 信号应该被置为低。
    3. 预取请求被拒绝–IPrefetchPipe 非空闲时:
      • 当 IPrefetchPipe 非空闲时,预取请求应该被拒绝。
      • s0_fire 信号应该被置为低。
    4. 预取请求被拒绝–预取请求无效且 IPrefetchPipe 非空闲时:
      • 当预取请求无效且 IPrefetchPipe 非空闲时,预取请求应该被拒绝。
      • s0_fire 信号应该被置为低。
    5. 预取请求有效且为单 cacheline 时:
      • 当预取请求有效且为单 cacheline 时,预取请求应该被接收。
      • s0_fire 为高,s0_doubleline 应该被置低(false)。
    6. 预取请求有效且为双 cacheline 时:
      • 当预取请求有效且为双 cacheline 时,预取请求应该被接收。
      • s0_fire 为高,s0_doubleline 应该被置高(true)。
  2. 软件预取请求: 预取请求为软件 (isSoftPrefetch = true)

    1. 软件预取请求可以继续:
      • 当预取请求有效且 IPrefetchPipe 处于空闲状态时,软件预取请求应该被接收。
      • s0_fire 信号在没有 s0 的刷新信号( s0_flush 为低)时,应该被置为高。
    2. 软件预取请求被拒绝–预取请求无效时:
      • 当预取请求无效时,软件预取请求应该被拒绝。
      • s0_fire 信号应该被置为低。
    3. 软件预取请求被拒绝–IPrefetchPipe 非空闲时:
      • 当 IPrefetchPipe 非空闲时,软件预取请求应该被拒绝。
      • s0_fire 信号应该被置为低。
    4. 软件预取请求被拒绝–预取请求无效且 IPrefetchPipe 非空闲时:
      • 当预取请求无效且 IPrefetchPipe 非空闲时,软件预取请求应该被拒绝。
      • s0_fire 信号应该被置为低。
    5. 软件预取请求有效且为单 cacheline 时:
      • 当软件预取请求有效且为单 cacheline 时,软件预取请求应该被接收。
      • s0_fire 为高,s0_doubleline 应该被置低(false)。
    6. 软件预取请求有效且为双 cacheline 时:
      • 当软件预取请求有效且为双 cacheline 时,软件预取请求应该被接收。
      • s0_fire 为高,s0_doubleline 应该被置高(true)。

接收来自 ITLB 的响应并处理结果

接收 ITLB 的响应,完成虚拟地址到物理地址的转换。 当 ITLB 发生缺失(miss)时,保存请求信息,等待 ITLB 完成后再继续处理。

  1. 地址转换完成:

    • 根据 ITLB 的响应,接收物理地址(paddr),并完成地址转换。
    • 处理 ITLB 响应可能在不同周期到达的情况,管理有效信号和数据保持机制,确保正确使用物理地址。
    1. 当 ITLB 正常返回物理地址时:

      • ITLB 在一个周期内成功返回物理地址 paddr,s1_valid 为高。
      • 确认 s1 阶段正确接收到 paddr。
    2. 当 ITLB 发生 TLB 缺失,需要重试时:

      • fromITLB(PortNumber).bits.miss 为高,表示对应通道的 ITLB 发生了 TLB 缺失,需要重发。
      • 重发完成后,后续步骤继续进行,fromITLB(PortNumber).bits.miss 为低。
  2. 处理 ITLB 异常:

    • 根据 ITLB 的异常信息,处理可能的异常。pf 缺页、pgf 虚拟机缺页、af 访问错误。
    1. 当 ITLB 发生页错误异常时:
      • s1_itlb_exception 返回的页错误。
      • iTLB 返回的物理地址有效(fromITLB(PortNumber).bits.miss 为低),s1_itlb_exception 指示页错误 pf。
    2. 当 ITLB 发生虚拟机页错误异常时:
      • s1_itlb_exception 返回的虚拟机页错误。
      • iTLB 返回的物理地址有效(fromITLB(PortNumber).bits.miss 为低),s1_itlb_exception 指示虚拟机页错误 pgf。
    3. 当 ITLB 发生访问错误异常时:
      • s1_itlb_exception 返回的访问错误。
      • iTLB 返回的物理地址有效(fromITLB(PortNumber).bits.miss 为低),s1_itlb_exception 指示访问错误 af。
  3. 处理虚拟机物理地址(用于虚拟化):

    • 在虚拟化环境下,处理虚拟机物理地址(gpaddr),确定访问是否针对二级虚拟机的非叶子页表项(isForVSnonLeafPTE)。
    1. 发生虚拟机页错误异常返回虚拟机物理地址(gpaddr):
      • 发生 pgf 后,需要返回对应的 gpaddr。
      • 只有一个通道发生 pgf 时,返回对应通道的 gpaddr 即可;多个通道发生 pgf 时,返回第一个通道的 gpaddr。
    2. 当访问二级虚拟机的非叶子页表项时:
      • 发生 gpf 后,如果是访问二级虚拟机的非叶子页表项时,需要返回对应的 gpaddr。
      • 只有一个通道发生 pgf 时,返回对应通道的 gpaddr 即可;多个通道发生 pgf 时,返回第一个通道的 gpaddr。
  4. 返回基于页面的内存类型 pbmt 信息:

    • TLB 有效时,返回 pbmt 信息。

接收来自 IMeta(缓存元数据)的响应并检查缓存命中

从 Meta SRAM 中读取缓存标签和有效位。 将物理地址的标签部分与缓存元数据中的标签比较,确定是否命中。

  1. 缓存标签比较和有效位检查:

    • 从物理地址中提取物理标签(ptag),将其与缓存元数据中的标签进行比较,检查所有缓存路(Way)。检查有效位,确保只考虑有效的缓存行。
    1. 缓存未命中(标签不匹配或有效位为假):
      • 当标签不匹配或者标签匹配,但是有效位为假时,表示缓存未命中。
      • s1_meta_ptags(PortNumber)(nWays) 不等于 ptags(PortNumber) 或者它们相等,但是对应的 s1_meta_valids 为低时,总之返回的 waymasks 为全 0。
    2. 单路缓存命中(标签匹配且有效位为真):
      • 当标签匹配,且有效位为真时,表示缓存命中。
      • waymasks 对应的位为 1。

PMP(物理内存保护)权限检查

对物理地址进行 PMP 权限检查,确保预取操作的合法性。 处理 PMP 返回的异常和 MMIO 信息

  1. 访问被允许的内存区域
    • itlb 返回的物理地址在 PMP 允许的范围内。
    • s1_pmp_exception(i) 为 none。
  2. 访问被禁止的内存区域
    • s1_req_paddr(i) 对应的地址在 PMP 禁止的范围内。
    • s1_pmp_exception(i) 为 af。
  3. 访问 MMIO 区域
    • itlb 返回的物理地址在 MMIO 区域。
    • s1_pmp_mmio 为高。

异常处理和合并

backend 优先级最高,merge 方法里的异常越靠前优先级越高

合并来自后端、ITLB、PMP 的异常信息,按照优先级确定最终的异常类型。

  1. 仅 ITLB 产生异常
    • s1_itlb_exception(i) 为非零,s1_pmp_exception(i) 为零。
    • s1_exception_out(i) 正确包含 ITLB 异常。
  2. 仅 PMP 产生异常
    • s1_itlb_exception(i) 为零,s1_pmp_exception(i) 为非零。
    • s1_exception_out(i) 正确包含 PMP 异常。
  3. 仅 后端 产生异常
    • s1_itlb_exception(i) 为零,s1_pmp_exception(i) 为零。
    • s1_exception_out(i) 正确包含 后端 异常。
  4. ITLB 和 PMP 都产生异常
    • s1_itlb_exception(i) 和 s1_pmp_exception(i) 都为非零。
    • s1_exception_out(i) 包含 ITLB 异常(优先级更高)。
  5. ITLB 和 后端 都产生异常
    • s1_itlb_exception(i) 和 s1_backendException(i) 都为非零。
    • s1_exception_out(i) 包含 后端 异常(优先级更高)。
  6. PMP 和 后端 都产生异常
    • s1_pmp_exception(i) 和 s1_backendException(i) 都为非零。
    • s1_exception_out(i) 包含 后端 异常(优先级更高)。
  7. ITLB、PMP 和 后端 都产生异常
    • s1_itlb_exception(i)、s1_pmp_exception(i) 和 s1_backendException(i) 都为非零。
    • s1_exception_out(i) 包含 后端 异常(优先级更高)。
  8. 无任何异常
    • s1_itlb_exception(i)、s1_pmp_exception(i)、s1_backendException(i) 都为零。
    • s1_exception_out(i) 指示无异常。

发送请求到 WayLookup 模块

当条件满足时,将请求发送到 WayLookup 模块,以进行后续的缓存访问。

  1. 正常发送请求到 WayLookup
    • toWayLookup.valid 为高,toWayLookup.ready 为高,s1_isSoftPrefetch 为假。
    • 请求成功发送,包含正确的地址、标签、waymask 和异常信息。
  2. WayLookup 无法接收请求
    • toWayLookup.valid 为高,toWayLookup.ready 为假。
    • 状态机等待 WayLookup 准备好,不会错误地推进。
  3. 软件预取请求不发送到 WayLookup
    • s1_isSoftPrefetch 为真。
    • toWayLookup.valid 为假,不会发送预取请求到 WayLookup。

状态机控制和请求处理流程

使用状态机管理 s1 阶段的请求处理流程。 包括处理 ITLB 重发、Meta 重发、进入 WayLookup、等待 s2 准备等状态

  1. 初始为 m_idle 状态:

    1. 正常流程推进,保持 m_idle 状态
    • s1_valid 为高,itlb_finish 为真,toWayLookup.fire 为真,s2_ready 为真。
    • 状态机保持在 m_idle 状态,s1 阶段顺利推进。
    1. ITLB 未完成,需要重发
    • s1_valid 为高,itlb_finish 为假。
    • 状态机进入 m_itlbResend 状态,等待 ITLB 完成。
    1. ITLB 完成,WayLookup 未命中
    • s1_valid 为高,itlb_finish 为真,toWayLookup.fire 为假。
    • 状态机进入 m_enqWay 状态,等待 WayLookup 入队。
  2. 初始为 m_itlbResend 状态:

    1. ITLB 命中, MetaArray 空闲,需要 WayLookup 入队
      • itlb_finish 为假,toMeta.ready 为真。
      • 状态机进入 m_enqWay 状态,等待 WayLookup 入队。
    2. ITLB 命中, MetaArray 繁忙,等待 MetaArray 读请求
      • itlb_finish 为假,toMeta.ready 为假。
      • 状态机进入 m_metaResend 状态,MetaArray 读请求
  3. 初始为 m_metaResend 状态:

    1. MetaArray 空闲 ,需要 WayLookup 入队
      • toMeta.ready 为真。
      • 状态机进入 m_enqWay 状态,等待 WayLookup 入队。
  4. 初始为 m_enqWay 状态:

    1. WayLookup 入队完成或者为软件预取, S2 空闲, 重新进入空闲状态
      • toWayLookup.fire 或 s1_isSoftPrefetch 为真,s2_ready 为假。
      • 状态机进入空闲状态 m_idle。
    2. WayLookup 入队完成或者为软件预取, S2 繁忙,需要 enterS2 状态
      • toWayLookup.fire 或 s1_isSoftPrefetch 为真,s2_ready 为真。
      • 状态机进入 m_enterS2 状态,等待 s2 阶段准备好。
  5. 初始为 m_enterS2 状态:

    1. s2 阶段准备好,请求进入下流水级,流入后进入 m_idle 状态
    • s2_ready 为真。
    • 状态机进入空闲状态 m_idle。

监控 missUnit 的请求

检查 missUnit 的响应,更新缓存的命中状态和 MSHR 的匹配状态。

  1. 请求与 MSHR 匹配且有效:

    • s2_req_vSetIdx 和 s2_req_ptags 与 fromMSHR 中的数据匹配,且 fromMSHR.valid 为高,fromMSHR.bits.corrupt 为假。
    • s2_MSHR_match(PortNumber) 为真, s2_MSHR_hits(PortNumber) 应保持为真
  2. 请求在 SRAM 中命中:

    • s2_waymasks(PortNumber) 中有一位为高,表示在缓存中命中。
    • s2_SRAM_hits(PortNumber) 为真,s2_hits(PortNumber) 应为真。
  3. 请求未命中 MSHR 和 SRAM:

    • 请求未匹配 MSHR,且 s2_waymasks(PortNumber) 为空。
    • s2_MSHR_hits(PortNumber)、s2_SRAM_hits(PortNumber) 均为假, s2_hits(PortNumber) 为假。

发送请求到 missUnit

对于未命中的预取请求,向 missUnit 发送请求,以获取缺失的数据。

  1. 确定需要发送给 missUnit 的请求
  • 根据命中状态、异常信息、MMIO 信息等,确定哪些请求需要发送到 missUnit(即 s2_miss)。

    1. 请求未命中且无异常,需要发送到 missUnit:

      • s2_hits(PortNumber) 为假(未命中缓存),s2_exception 无异常,s2_mmio 为假(不是 MMIO 或不可缓存的内存)。
      • s2_miss(PortNumber) 为真,表示需要发送请求到 missUnit。
    2. 请求命中或有异常,不需要发送到 missUnit:

      • s2_hits(i) 为真(已命中)或者 s2_exception 有异常 或者 s2_mmio 为真(MMIO 访问)。
      • s2_miss(i) 为假,不会发送请求到 missUnit。
    3. 双行预取时,处理第二个请求的条件:

      • s2_doubleline 为真,处理第二个请求。
      • 如果第一个请求有异常或 MMIO,s2_miss(1) 应为假,后续请求被取消或处理。
  1. 避免发送重复请求,发送请求到 missUnit
  • 使用寄存器 has_send 记录每个端口是否已发送请求,避免重复发送。

  • 将需要发送的请求通过仲裁器 toMSHRArbiter 发送到 missUnit。

    1. 在 s1_real_fire 时,复位 has_send:

      • s1_real_fire 为高。
      • has_send(PortNumber) 应被复位为假,表示新的请求周期开始。
    2. 当请求成功发送时,更新 has_send:

      • toMSHRArbiter.io.in(PortNumber).fire 为高(请求已发送)。
      • has_send(PortNumber) 被设置为真,表示该端口已发送请求。
    3. 避免重复发送请求:

      • 同一请求周期内,has_send(PortNumber) 为真,s2_miss(PortNumber) 为真。
      • toMSHRArbiter.io.in(PortNumber).valid 为假,不会再次发送请求。
    4. 正确发送需要的请求到 missUnit:

      • s2_valid 为高,s2_miss(i) 为真,has_send(i) 为假。
      • toMSHRArbiter.io.in(i).valid 为高,请求被成功发送。
    5. 仲裁器正确仲裁多个请求:

      • 多个端口同时需要发送请求。
      • 仲裁器按照优先级或设计要求选择请求发送到 missUnit,未被选中的请求在下个周期继续尝试发送。

刷新机制

  • io.flush: 全局刷新信号,当该信号为高时,所有请求都需要刷新。
  • from_bpu_s0_flush:当请求不是软件预取(!s0_isSoftPrefetch, 软件预取请求是由特定的指令触发的,与指令流中的分支预测无关。因此,在处理刷新信号时,对于软件预取请求,通常不受来自 BPU 的刷新信号影响。),且 BPU 指示需要在 Stage 2 或 Stage 3 刷新的请求,由于该请求尚未进入 s1 阶段,因此在 s0 阶段也需要刷新。
  • s0_flush:综合考虑全局刷新信号、来自 BPU 的刷新信号,以及 s1 阶段的刷新信号
  • from_bpu_s1_flush:当 s1 阶段的请求有效且不是软件预取,且 BPU 指示在 Stage 3 需要刷新,则在 s1 阶段需要刷新。
  • io.itlbFlushPipe:当 s1 阶段需要刷新时,该信号用于通知 ITLB 刷新其流水线,以保持一致性。
  • s1_flush:综合考虑全局刷新信号和来自 BPU 的刷新信号。
  • s2_flush:用于控制 s2 阶段是否需要刷新。
  1. 发生全局刷新
    • io.flush 为高。
    • s0_flush、s1_flush、s2_flush 分别为高,所有阶段的请求被正确清除。
  2. 来自 BPU 的刷新
    • io.flushFromBpu.shouldFlushByStageX 为真(X 为 2 或 3),且请求不是软件预取。
    • 对应阶段的 from_bpu_sX_flush 为高,sX_flush 为高,阶段请求被刷新。
  3. 刷新时状态机复位
    • s1_flush 为高。
    • 状态机 state 被重置为 m_idle 状态。
  4. ITLB 管道同步刷新
    • s1_flush 为高。
    • io.itlbFlushPipe 为高,ITLB 被同步刷新。